欢迎,访问上海宝凯电气/cm1塑壳式断路器,gw2,dw15万能式断路器厂家
服务热线:021-51619698
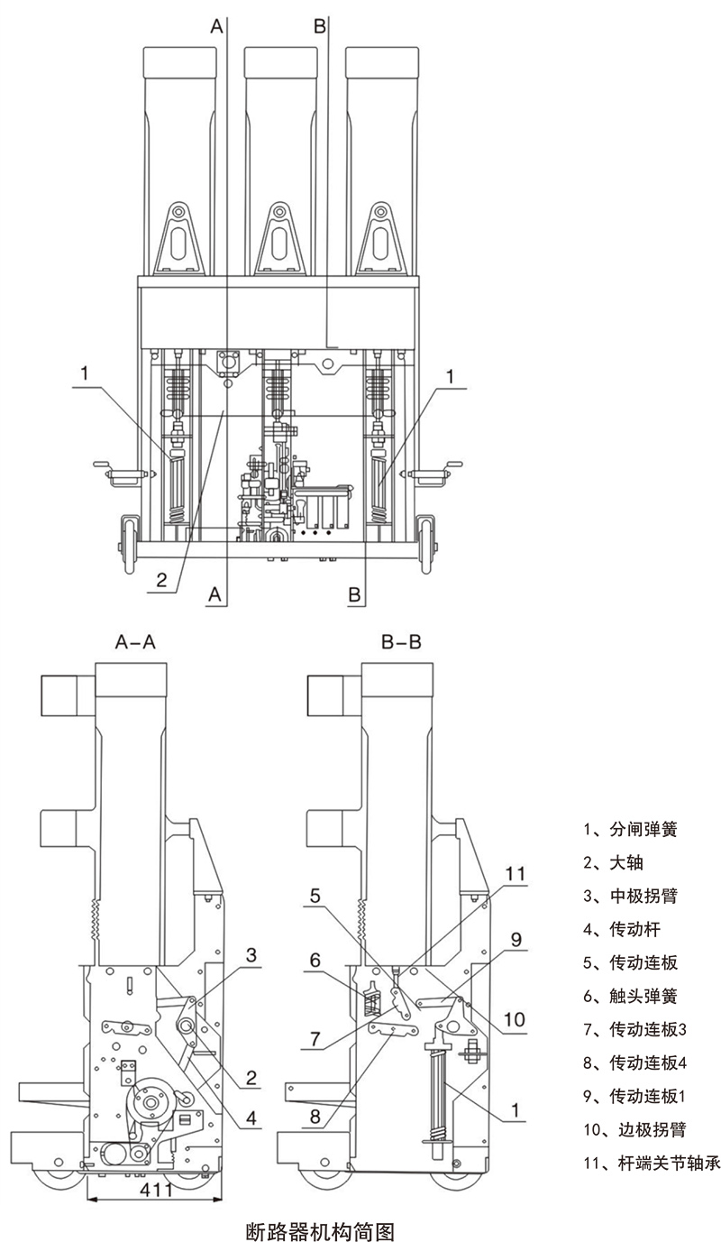
上一张 下一张
当前位置:首页>产品总汇>户内真空断路器>ZN85-40.5户内高压真空断路器
 ZN85-40.5户内高压真空断路器

ZN85-40.5(3AV3)户 内真空断路器适用于额定电压40.5kV,三相交流50Hz的户内高压设备,可供工矿企业、发电厂及变电站作为分合负荷电流、过载电流、短路电流之用,并适用开频繁操作场合。

三、使用环境条件


海拔高度:不超过2000米;
环境温度:上限为+40C,下限为-15C;相对湿度:日平均值不大于95%,
月平均值不大于90%;地震烈度:不超过8度;
没有火灾爆炸危险,没有剧烈震动及化学腐蚀等严重污秽的场所。

四、结构特点


断路器采用灭弧室在,上,机构在下的整体布置的结构,利于调试。采用空气与有机材料复合绝缘结构,设计紧凑,重量轻。
可配美国Cutler-Hammer公司的真空灭弧室和国产ZMD真空灭弧室,两种灭弧室采用纵磁场灭弧,低截流,非对称开断性能好。
简.单的弹簧操作机构,10000次操作免维护。丝杠推进机构,省力、平稳、自锁性能好。

友情链接: 防爆箱 led防爆灯